ZSSC3230은 Renesas Electronics에서 개발한 정전용량 센서 신호 컨디셔너 IC로, 정전용량 센서의 신호를 고정밀 디지털 데이터로 변환하고 오프셋, 감도, 온도 드리프트를 보정하는 CMOS 기반 집적 회로입니다. 이 문서는 ZSSC3230의 기능, 특히 I2C 인터페이스와 비휘발성 메모리(NVM)를 포함한 주요 특징, 동작 모드, 보정 수학, 응용 사례 등을 요약 합니다.

1. ZSSC3230의 개요
ZSSC3230은 정전용량 센서의 신호를 디지털화하고, 내부 디지털 신호 프로세서(DSP)와 비휘발성 메모리(NVM)를 통해 센서의 비선형성과 온도 영향을 보정합니다. 저전력 설계와 I2C 및 PDM 인터페이스를 통해 IoT, HVAC, 의료 기기 등 다양한 응용 분야에 적합합니다.
주요 특징
ZSSC3230의 핵심 사양은 다음 표와 같습니다.
| 항목 | 설명 |
|---|---|
| 정전용량 입력 범위 | 0~30pF (오프셋 0~15pF, 유효 신호 ±15pF) |
| 출력 해상도 | 12~18비트, 조정 가능 |
| 인터페이스 | I2C (최대 3.4MHz), PDM 출력 |
| 전원 전압 | 1.68V~3.6V |
| 전력 소모 | 1초당 1샘플 기준 1.3µA |
| 동작 온도 | -40°C~125°C (BI 시리즈), -40°C~85°C (BC 시리즈) |
| 패키지 | 4×4mm 24-PQFN, 다이(304µm/725µm) |
| 응용 분야 | 습도 센서, 압력/레벨 센서, HVAC, 의료 기기 |

2. 동작 모드: 애플리케이션에 맞춘 유연성
ZSSC3230은 세 가지 동작 모드를 제공하여 전력 효율, 응답 속도, 자동화 수준에 따라 애플리케이션 요구를 충족합니다.
2.1 슬립 모드 (Sleep Mode)
슬립 모드는 배터리 수명을 극대화하기 위해 설계된 저전력 모드입니다. 명령 실행 후 자동으로 대기 상태로 전환되며, 평균 전력 소모는 0.07~1µA입니다. 인터페이스는 항상 활성 상태로 유지되어 외부 명령을 즉시 수신할 수 있으며, IoT 디바이스와 같은 초저전력 애플리케이션에 최적입니다.
| 설정 | 값 |
|---|---|
| 명령 | START_SLEEP (A8HEX) |
| 주기 설정 | CYC_period (02HEX, 비트 14:12, 0~5333ms) |
2.2 명령 모드 (Command Mode)
명령 모드는 평가, 테스트, 보정 작업에 사용됩니다. START_CM (A9HEX) 명령으로 활성화되며, 모든 명령을 지원하고 디지털 및 PDM 출력을 제공합니다. 빠른 응답 시간과 유연한 설정 변경이 필요한 상황에 적합하지만, 전력 소모는 750~1100µA로 상대적으로 높습니다.
2.3 주기적 측정 모드 (Cyclic Measurement Mode)
주기적 측정 모드는 실시간 데이터 업데이트가 필요한 애플리케이션에 적합합니다. START_CYC (ABHEX) 명령으로 시작되며, CYC_period 설정에 따라 자동으로 반복 측정을 수행합니다. HVAC 시스템과 같은 연속 모니터링에 유용하며, I2C와 PDM 출력을 지원합니다.
3. I2C 인터페이스
ZSSC3230은 I2C 인터페이스를 통해 외부 장치와 고속, 안정적인 통신을 제공합니다. 최대 3.4MHz 속도를 지원하며, NXP I2C 버스 사양(Rev. 06)을 준수합니다. 이는 설정 변경, 데이터 읽기, 상태 확인 등에 사용됩니다.
3.1 I2C 특징
| 항목 | 설명 |
|---|---|
| 속도 | 표준(100kHz), 고속(400kHz), 초고속(3.4MHz) |
| 주소 | 7비트, 기본 48HEX (Slave_Addr, 02HEX) |
| 프로토콜 | 시작 → 슬레이브 주소 → 읽기/쓰기 → 명령/데이터 → 정지 |
| 상태 바이트 | 전원 상태, 바쁨 상태, 모드, 오류 정보 |
3.2 I2C 명령 구조
I2C 통신은 두 가지 주요 작업으로 나뉩니다:
- 명령 요청: 시작 → 슬레이브 주소 → 쓰기 비트(0) → 명령 → 데이터(필요 시) → 정지.
- 데이터 읽기: 시작 → 슬레이브 주소 → 읽기 비트(1) → 상태 바이트 → 데이터 워드 → 정지.
상태 바이트는 시스템 상태를 나타내며, 다음 정보를 포함합니다:
| 비트 | 설명 |
|---|---|
| 6 | 전원 상태 (1 = ON) |
| 5 | 바쁨 상태 (1 = 처리 중) |
| 3~4 | 모드 (00 = 정상, 01 = 명령, 10 = 테스트) |
| 2 | 메모리 오류 (체크섬 실패 시 1) |
| 1 | ADC 오버플로우 |
| 0 | 수학 연산 포화 |
3.3 I2C 명령 목록
ZSSC3230은 다양한 I2C 명령을 지원합니다. 주요 명령은 다음과 같습니다:
| 명령 | 코드 | 설명 |
|---|---|---|
| 메모리 읽기 | 00HEX~3CHEX | NVM 레지스터 읽기 |
| 메모리 쓰기 | 40HEX~7CHEX | NVM 레지스터 쓰기 |
| 원시 센서 측정 | A2HEX | 센서 원시 데이터 |
| 원시 온도 측정 | A6HEX | 온도 원시 데이터 |
| SSC 보정 | AAHEX | 보정된 데이터 출력 |
| 주기 시작 | ABHEX | 주기적 측정 모드 시작 |
| 체크섬 계산 | 90HEX | NVM 무결성 확인 |
3.4 I2C 동작 고려사항
I2C 통신은 안정적이며, 시작 시간(0.5ms)과 전원 안정화(2ms)를 고려해야 합니다. NVM 설정 변경 시 CRC 체크섬(1CHEX)을 갱신하여 데이터 무결성을 보장합니다.
4. 비휘발성 메모리 (NVM)
ZSSC3230의 비휘발성 메모리(NVM)는 설정과 보정 계수를 저장하는 핵심 구성 요소로, 16비트 × 28개 레지스터로 구성되며 약 10,000회 재프로그래밍이 가능합니다. NVM은 전원 인가 시 설정을 로드하여 즉시 동작을 시작하며, CRC 체크섬을 통해 데이터 무결성을 확인합니다.
4.1 NVM 구조
NVM은 두 개의 주요 섹터로 나뉩니다:
- 고객 사용 섹터: 주소 00HEX~1CHEX, 고객 ID, 인터페이스 설정, 보정 계수 등을 저장.
- Renesas 전용 섹터: 제조 시 트림 정보 저장, 고객 접근 불가.
4.2 NVM 주요 레지스터
NVM 레지스터는 다양한 설정과 보정 데이터를 저장합니다. 주요 레지스터는 다음과 같습니다:
| 주소 | 내용 | 세부 설명 |
|---|---|---|
| 00HEX~01HEX | 고객 ID (Cust_ID0, Cust_ID1) |
고객별 고유 식별자, 사용자 정의 가능 |
| 02HEX | 인터페이스 설정 |
|
| 03HEX~11HEX | 보정 계수 |
|
| 12HEX | 측정 설정 |
|
| 13HEX~15HEX | 인터럽트 임계값 | TRSH1, TRSH2: 24비트, 인터럽트 조건 설정. |
| 16HEX~18HEX | 오프셋 보정 | SENS_Shift, T_Shift: 센서 및 온도 후속 보정 오프셋. |
| 19HEX | 추가 설정 |
|
| 1CHEX | CRC 체크섬 | 다항식 \(x^{16} + x^{15} + x^2 + 1\), NVM 무결성 확인. |
4.3 NVM 동작 및 관리
NVM은 전원 인가 시 자동으로 설정을 로드하며, 90HEX 명령으로 CRC 체크섬을 계산하여 데이터 무결성을 확인합니다. 오류 발생 시 상태 바이트의 비트 2가 1로 설정됩니다. NVM 쓰기 작업은 20ms/16비트 워드가 소요되며, 최대 10,000회 재프로그래밍이 가능하고 데이터는 10년 이상 유지됩니다.
4.4 NVM 사용 시 고려사항
- 프로그래밍 주의: 쓰기 작업 전 레지스터 값을 백업하고, CRC 갱신 필수.
- 내구성 관리: 10,000회 제한을 고려해 불필요한 쓰기 최소화.
- 보정 계수 설정: 센서 특성에 맞게
Offset_S,Gain_S,Tcg,Tco등을 정확히 계산. - I2C 연동: NVM 읽기/쓰기는 I2C 명령(
00HEX~7CHEX)을 통해 수행.
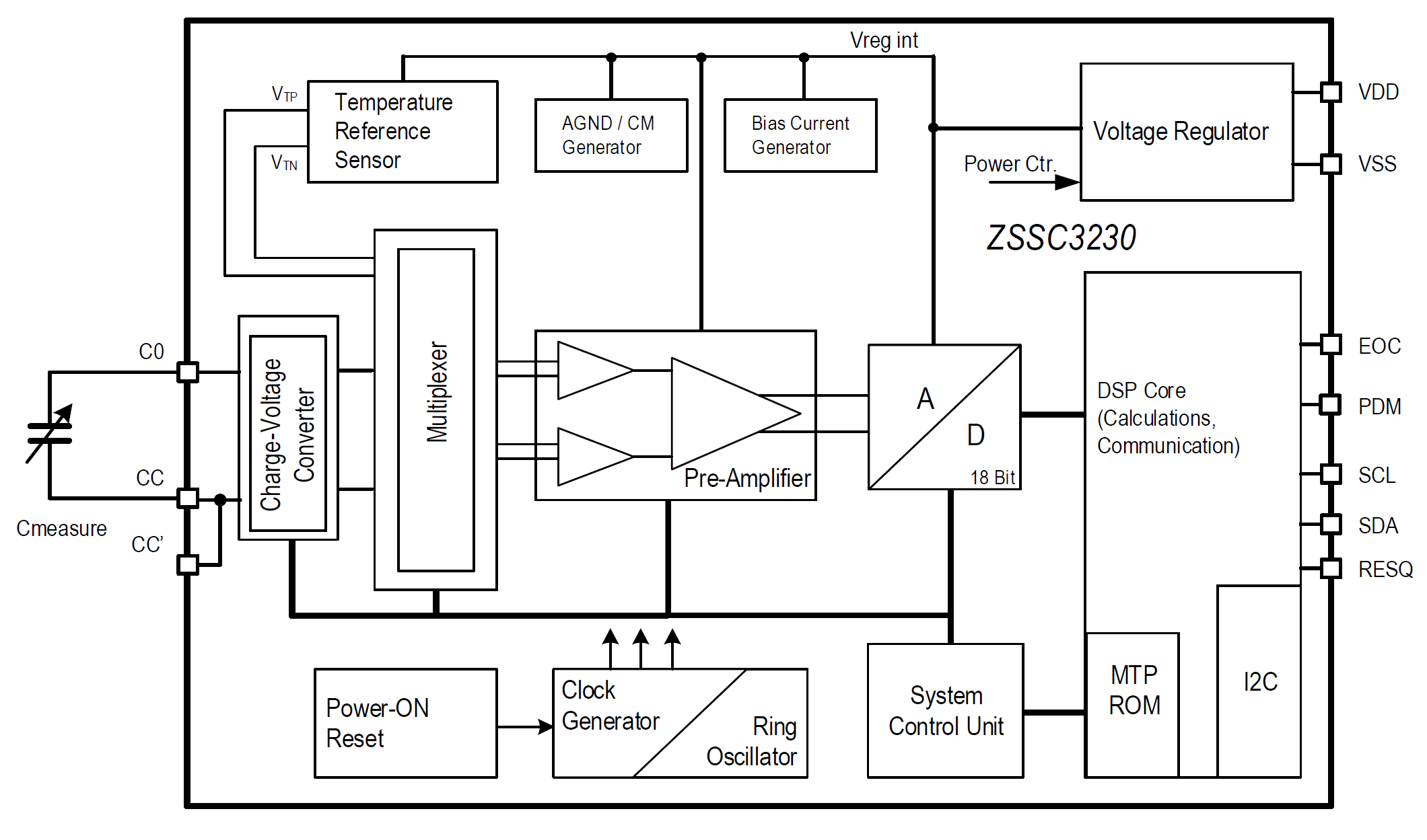
5. 신호 흐름: 데이터 처리의 핵심
ZSSC3230은 정전용량 센서 신호를 디지털 데이터로 변환하고 보정하는 과정을 체계적으로 처리합니다.
5.1 블록 다이어그램
주요 구성 요소는 다음과 같습니다:
- 정전용량 입력 (C0, CC, CC'): 외부 센서 연결.
- 전하-전압 변환기 (CVC): 정전용량을 전압으로 변환.
- 프로그래머블 증폭기 (PGA): 신호 레벨 조정.
- ADC: 12~18비트 디지털화.
- DSP 코어: 보정 계산 수행.
- NVM: 설정 및 보정 계수 저장.
- I2C/PDM: 통신 및 출력.

5.2 신호 흐름
신호는 다음 단계를 거칩니다:
- 입력: 다중화기로 센서 또는 온도 신호 선택.
- 변환: CVC에서 정전용량을 전압으로, PGA에서 증폭.
- 디지털화: ADC로 12~18비트 변환, 자동 제로(AZ)로 드리프트 보상.
- 보정: DSP가 NVM 계수로 신호 보정.
- 출력: I2C(디지털) 또는 PDM(의사 아날로그) 출력.
6. 정전용량 센서 프론트엔드
ZSSC3230은 정전용량 센서를 차동 또는 단일 종단 모드로 측정하며, 특수 모드로 고급 기능을 제공합니다.
6.1 차동 모드
센서가 CC/CC'와 C0 사이에 연결되며, 높은 신호 무결성과 노이즈 내성을 제공합니다. sensecap_type = 0으로 설정하며, 의료 기기와 같은 고정밀 애플리케이션에 적합합니다.

6.2 단일 종단 모드
센서가 CC/CC'와 접지(VSS) 사이에 연결되며, 배선이 간단해 소비재에 적합합니다. sensecap_type = 1로 설정하며, 1비트 해상도 손실이 발생합니다.

6.3 특수 모드

| 모드 | 설정 | 설명 |
|---|---|---|
| 센서 누설 보상 | sensor_leakage = 1 |
기생 저항으로 인한 누설 전류 보상, SNR 1비트 손실 |
| 실드 드라이버 | En_shlddrv = 1 |
기생 정전용량 제거, 고정밀 측정 |
| 빼기 모드 | En_sh2 = 1 |
정전용량 차이 측정, 범위 확장 |
6.4 정전용량 범위
입력 범위는 오프셋(COFFSET)과 유효 신호(CSIGNAL)의 합으로, 최대 30pF입니다.
| 항목 | 설정 | 범위 |
|---|---|---|
| COFFSET | shift_cap (12HEX, 비트 5:0) |
0~15.75pF |
| CSIGNAL | cap_range (12HEX, 비트 13:9) |
±15pF (0.5~16pF) |
7. 온도 센서
ZSSC3230은 PTAT 기반 내부 온도 센서를 내장하여 14비트 해상도로 온도를 측정합니다. 이는 센서 신호의 온도 드리프트 보정과 환경 모니터링에 사용되며, 선형 및 2차 비선형 보정을 지원합니다.
8. ADC: 고정밀 디지털화
아날로그-디지털 변환기(ADC)는 12~18비트 해상도를 제공하며, 변환 시간과 노이즈 성능을 조정할 수 있습니다.
| 해상도 | 저전류 모드 (µs) | 저노이즈 모드 (µs) |
|---|---|---|
| 12비트 | 770 | 1550 |
| 18비트 | 4550 | 10620 |
자동 제로(AZ)는 드리프트를 보정하며, 다음 수식으로 계산됩니다:
\[ S_{\text{raw}} = 0.5 \times (SM - AZS), \quad T_{\text{raw}} = 0.5 \times (TM - AZT) \]
9. 보정 수학
ZSSC3230은 26비트 2의 보수 정수로 계산하며, 보정 계수는 24비트로 저장됩니다.
9.1 (2-1/C) 사전 보상
압력 센서의 비선형성을 선형화하기 위해 사용됩니다.
\[ S_{\text{rawi}} = \left[ \frac{2^{24} - \frac{2^{46}}{S_{\text{raw}}}}{2^{25} - 1} \right] \]
9.2 센서 신호 보정
파라볼릭 또는 S자형 2차 곡선 보정을 지원합니다.
파라볼릭 보정:
\[ K1 = 2^{23} + \frac{T_{\text{Raw}}}{2^{23}} \cdot \left( \frac{4 \cdot \text{SOT}_{\text{tcg}}}{2^{23}} \cdot T_{\text{Raw}} + 4 \cdot \text{Tcg} \right) \]
\[ K2 = 4 \cdot \text{Offset}_S + S_{\text{Raw}} + \frac{T_{\text{Raw}}}{2^{23}} \cdot \left( \frac{4 \cdot \text{SOT}_{\text{tco}}}{2^{23}} \cdot T_{\text{Raw}} + 4 \cdot \text{Tco} \right) \]
\[ ZSP = \frac{4 \cdot \text{Gain}_S}{2^{23}} \cdot \frac{K1}{2^{23}} \cdot K2 + 2^{23} \]
\[ S = \frac{ZSP}{2^{23}} \cdot \left( \frac{4 \cdot \text{SOT}_{\text{sensor}}}{2^{23}} \cdot ZSP + 2^{23} \right) + \text{Sensor_Shift} \]
S자형 보정:
\[ ZSS = \frac{4 \cdot \text{Gain}_S}{2^{23}} \cdot \frac{K1}{2^{23}} \cdot K2 \]
\[ S = \frac{ZSS}{2^{23}} \cdot \left( \frac{4 \cdot \text{SOT}_{\text{sensor}}}{2^{23}} \cdot |ZSS| + 2^{23} \right) + 2^{23} + \text{Sensor_Shift} \]
9.3 온도 신호 보정
\[ ZT = \frac{4 \cdot \text{Gain}_T}{2^{23}} \cdot (T_{\text{Raw}} + 4 \cdot \text{Offset}_T) + 2^{23} \]
\[ T = \frac{ZT}{2^{23}} \cdot \left( \frac{4 \cdot \text{SOT}_T}{2^{23}} \cdot ZT + 2^{23} \right) + T_{\text{Shift}} \]
10. 출력
10.1 PDM 출력
PDM(펄스 밀도 변조)은 주기적 측정 모드에서 의사 아날로그 출력을 제공하며, 외부 커패시터로 필터링됩니다.

| 커패시터 | 리플 (µV/V) | 정착 시간 (ms) | 해상도 (비트) |
|---|---|---|---|
| 100nF | 1000 | 2.3 | 10 |
| 6400nF | 16 | 147.2 | 16 |
10.2 I2C 출력
I2C는 최대 3.4MHz 속도로 디지털 데이터를 전송하며, 7비트 주소(기본: 48HEX)를 사용합니다. 자세한 내용은 I2C 섹션 참조.
10.3 EOC 및 인터럽트
EOC 핀은 변환 종료 또는 임계값 기반 인터럽트를 지원합니다.
| INT_setup | 기능 |
|---|---|
| 00 | 변환 종료 신호 |
| 01 | 측정값 > TRSH1 시 0→1 |
| 10 | 측정값 < TRSH1 시 0→1 |
| 11 | TRSH1, TRSH2 비교 논리 출력 |
11. 전기적 특성
ZSSC3230은 저전력과 고성능을 균형 있게 제공합니다.
| 항목 | 값 |
|---|---|
| 전원 소모 (활성) | 750~1100µA |
| 전원 소모 (슬립) | 0.07~1µA |
| 평균 전력 (14비트, 1회/초) | 1.7~3.3µA |
| ADC 해상도 | 12~18비트 |
| 변환 속도 | 94~1250Hz (단일 변환) |
| NVM 내구성 | 1000~10,000 사이클 |
12. 패키지 및 주문 정보
ZSSC3230은 다양한 패키지와 온도 범위를 지원합니다.
| 항목 | 설명 |
|---|---|
| 패키지 | 24-PQFN (4×4mm), 다이 (304µm/725µm) |
| 주문 코드 | ZSSC3230BC1B~BI6B, ZSSC3230KIT |
| 마킹 | 부품 번호, 조립 연도/주차, 로트 번호 |
13. 응용 사례
ZSSC3230은 다양한 응용 분야에서 활용됩니다.
| 모드 | 응용 |
|---|---|
| 차동 모드 | 고정밀 의료/산업용 |
| 단일 종단 모드 | 소비재, 간단한 배선 |
| 특수 모드 | 습도, 레벨 센서 |
14. 기타 기술적 세부 사항
ZSSC3230의 안정성과 유연성을 보장하는 추가 사양입니다.
| 항목 | 값 |
|---|---|
| 절대 최대 정격 | 접합 온도 135°C, 전원 -0.3~3.63V |
| 권장 동작 조건 | 전원 1.68~3.6V, 온도 -40~125°C |
| 명령 목록 | 메모리 읽기/쓰기, 측정, 체크섬 등 |
15. 결론
ZSSC3230은 초저전력(1.3µA), 고해상도(18비트), 유연한 I2C 인터페이스와 NVM 기반 보정 기능을 통해 IoT, 의료, 산업용 애플리케이션에 적합합니다. I2C 인터페이스는 고속 통신과 다양한 명령을 지원하며, NVM은 설정과 보정 계수를 안정적으로 저장하여 신뢰성을 높입니다. 단일 종단 모드의 해상도 손실과 PDM 출력의 외부 필터링 필요성은 설계 시 고려해야 할 점입니다. 센서 선택, 노이즈 관리, 인터럽트 설정을 최적화하면 최상의 성능을 발휘할 수 있습니다.